500V 1000V 2500V Insulation Resistance Tester ZC25-3 ZC25-4 ZC11D-10 Megohm Tester Resistance Megger Megohmmeter Multimeters
This instrument is used to measure the insulation resistance of various motors, cables, transformers, telecommunication components, household appliances and other electrical equipment during their installation, running, maintenance, repairs. We have different models with different test ranges to meet different requirements, such as 0~500MΩ, 0~1000MΩ, 0~2500MΩ. The material of the meter’s shell includes plastic, alloy and aluminum. The aluminum model is most durable, and works properly even under very extreme conditions.
1. Features & Highlights:
*High precision and low tolerance
*Easy to read the test results
*Wide test range from 0 to 500MΩ, 1000MΩ, 2500MΩ
*Low power consumption
*Handy and portable to carry
2. Specifications and Performance:
Main technical indexes: | |||||
Model | Rated Voltage | Measuring Range(MΩ.) | Accuracy Class | Outer Size | |
(V) | Permissible Error | ||||
ZC25-1 | 100 | + 10% | 0~100 | Level 10 (equivalent to level 1 of arc length) | 205* 120* 145mm |
ZC25-2 | 250 | + 10% | 0~250 | ||
ZC25-3 | 500 | + 10% | 0~500 | ||
ZC25-4 | 1000 | + 10% | 0~1000 | ||
ZC11D-10 | 2500 | + 10% | 0~500 | Level 20 | 215*135*130mm |
Use Conditions | Temperature:- 25~+40℃, relative humidity is not greater than 80% | ||||
Rated Speed of Crank Handle | 120r/min | ||||
Weight | About 2kg | ||||
2.1 Accuracy: Grade 10.
2.2 Service conditions: temperature (- 25-40) ℃, relative humidity not more than 80%
2.3 Rated speed of crank: 120r/min
2.4 Impact of external magnetic field: when the external magnetic field is 0.4kA/m, the allowable change of the instrument is 100% of the grade index.
2.5 Inclination effect: when the instrument inclines 50 from the horizontal position to either side, the allowable change of the instrument is 50% of the grade index.
2.6 Insulation resistance: the insulation resistance between all lines of the instrument and the shell shall not be greater than 20M2
2.7 Test voltage: the instrument can withstand 50Hz sine wave AC voltage for 1min, and the effective value of test voltage is shown as follows:
ZC25-3: 1000V
ZC25-4: 1500V
3. Instructions
3.1 The instrument must be placed horizontally away from the magnetic field when in use.
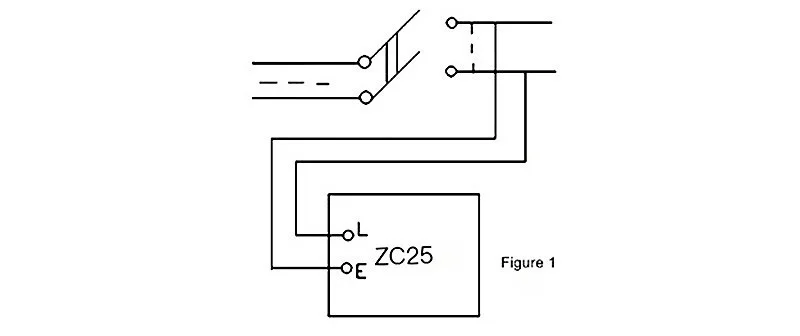
3 2 During insulation measurement, both ends of the tested object can be connected to the “grounding” and “line” terminals respectively. Turn the handle at the rated speed to measure the resistance. (See Figure 1)

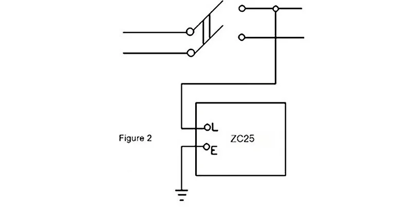
3.3 During the passing measurement, the tested terminal shall be connected to the “line” and a good ground wire shall be connected to the “grounding” column. Turn the handle at the rated speed to measure the resistance. (See Figure 2)
ZC25

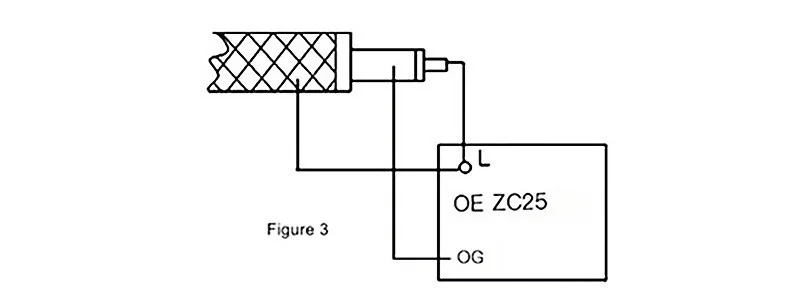
3.4 When measuring the insulation resistance of the cable core to the cable shell, in addition to connecting the two tested ends to the “grounding” and “line” terminals respectively, connect the inner insulation between the cable shell core to the “protection ring” to eliminate the measurement error caused by surface leakage. (See Figure 3)

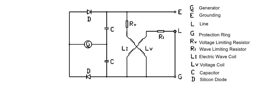
4. Circuit Diagram

5. Precautions:
5.1 When not in use, the insulation resistance meter should be placed in a fixed kitchen. The ambient temperature should not be too cold or too hot. It should not be placed on the dirty and damp ground, and it should not be placed in the air containing corrosion (such as acid, alkali and other steam).
5.2 Try to avoid violent and long-term vibration, which may damage the tip of the meter head and the gemstone and affect the accuracy of the instrument.
5.3 Wires connected between the terminal and the object to be tested shall not be stranded, but shall be connected separately to prevent reading from being affected by poor insulation of the stranded wire.
5.4 Before and after the measurement, the measured object must be fully discharged to ensure the safety of equipment and personnel.
5.5 In case of lightning and equipment with high-voltage conductor nearby, it is prohibited to use insulation resistance meter for measurement. It can only be conducted when the equipment is not electrified and cannot be electrified by other power sources.
5.6 When the handle is rotated and shaken, the speed will increase from slow to fast. If the pointer points to zero, it is not allowed to continue to shake with force to prevent coil damage.
5.



















Great news, we offer international shipping services and deliver to over 200 countries. The more of you we can reach the happier we are.
Packages will be shipped via a courier service which is dependant on the size and weight of the product. All packages are tracked and you will receive an email with this information when your order has been shipped.
Customs fees are not handled by us so please be aware that when you consent to packages being delivered you may incur custom fees when they arrive.
Delivery timescales depend on the location, please see below our estimated shipping times…
Don’t worry, all orders can be cancelled until the point of shipping. All you need to do to cancel an order it contact us as soon as possible.
We care about you and your customer satisfaction so if you need a refund you can request one no matter what.
If your refund is approved, it will be processed and applied back onto your payment method within 14 working days.
We also offer an exchange service, just contact us as soon as possible and we will take it from there.
Safe. Comfortable. Tested. Trusted.
We source our safety and leisure equipment from a trusted global network of suppliers, and only after a thorough due diligence process. From safety shoes to workwear and accessories, we ensure everything we provide is tested for real-world use, compliant with international safety standards, and ethically produced.
The videos on this page focus on our work with Chinese suppliers to develop safety footwear that’s both protective and comfortable — because we believe the right gear doesn’t just protect you, it helps you perform at your best.